【川南发电】荣获四川省2023年“环保诚信企业”称号

来源: 川投集团 发布日期: 2025/01/05 0
【川南发电】荣获四川省2023年“环保诚信企业”称号
【川南发电】荣获四川省2023年“环保诚信企业”称号

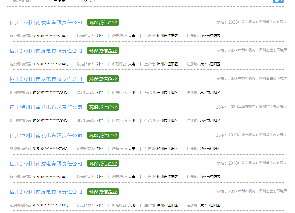
   近日,四川省生态环境厅公布了2023年度企业环境信用评价结果,川南发电公司获四川省2023年“环保诚信企业”荣誉称号,这也是公司连续7年获此殊荣。

   该评价由四川省生态环境厅组织开展,每年举行一次。根据《企业环境信用评价方法(试行)》,按照规定的指标、方法和程序,对企业遵守环保法律法规、履行环保社会责任等方面的实际表现,进行环境信用评价,确定其信用等级,并向社会公开,供公众监督和有关部门、金融等机构应用的环境管理手段。评选经参评单位申报自评、省市县三级审核对外公示、企业申诉复核和现场抽查核实,形成评价结果。

   川南发电公司在生产经营过程中严格按照法律法规和属地环保部门要求,不断加大环保投入,将环保设施的稳定运行,各项指标环保稳定达标列入工作重点之一。在完善环保管理制度、加强环保设施运维管理、坚持环保设施24小时巡回检查、落实环保措施执行力度的同时,进一步加大固体废物、环保风险管理、环保监督检查、环保管理知识培训及宣传等工作,坚持用行动证明,用数据说话,不断提高公司环保工作水平。公司环保工作取得了明显成效,全年废气污染物稳定实现超低排放。为响应泸州市重污染天气预警,公司更是积极配合,进行极限减排,为打赢蓝天碧水保卫战贡献力量。

   该荣誉的连续获得是上级生态环境主管部门对川南发电公司环保工作的充分肯定。川南发电公司将以此为起点,积极践行“守信激励、失信惩戒”环境保护机制,自觉履行环境保护法定义务和社会责任,坚守环保道德底线,持续推进生态环境领域信用体系建设,为守护地球美丽家园夯实诚信基础。

川投集团网站群

开云官方手机登录入口 四川川投能源股份有限公司 四川川投大健康产业集团有限责任公司 四川嘉阳集团有限责任公司 四川川投峨眉铁合金(集团)有限责任公司 川投信息产业集团有限公司 四川川投田湾河开发有限责任公司 四川泸州川南发电有限责任公司 四川川投燃气发电集团有限责任公司 四川川投售电有限责任公司 四川川投峨眉旅游开发有限公司 雅安市名山区川投燃料有限公司 四川川投佳友物业有限责任公司 四川川投国际网球中心开发有限责任公司 四川省房地产开发投资有限责任公司 华西牙科有限责任公司 天府大数据国际战略与技术研究院 川投集团甘肃能源有限责任公司 西昌川投大健康科技有限公司 四川牙谷建设管理有限公司 四川川投新能源有限公司
关注川投集团 微信扫描上方二微码关注
雅安市名山区川投燃料有限公司